제품소개

엔드밀

HOME > 제품소개 > 엔드밀

DA542 series 중경도용 ㆍ 클래식



2날, 테이퍼 넥 볼 엔드밀
  • 2 FLUTE, BALL NOSE with TAPER NECK

  • 공구강, 합금강, 금형강 및 고경도 피삭재에 적합
  • 모방가공에 적합
  • 테이퍼 롱 넥 타입으로 깊은 부위 모방가공에 적합


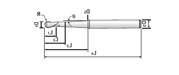
EDP. No. D1 R L1 L2 L3 D2 D3 L4 θ
DA5420011/161/325/3215/647/8.0961/42-3/81°30’
DA5420021/161/325/3215/641-5/8.2081/43-1/8
DA5420041/81/161/421/642-1/16.2161/43-5/81°30’
DA5420063/163/323/829/642-3/8.2883/84-3/81°30’
DA5420081/41/81/25/82-1/16.3253/84-3/81°30’
DA5420105/165/329/1611/162-1/16.3851/24-3/41°30’
DA5420123/83/1611/1613/162-3/8.4581/25-1/161°30’
DA5420161/21/47/813-1/4.6183/46-3/81°30’

적용 피삭재

탄소강
(S45C, S55C...)
~ HB225
합금강
(SCM, SK...)
HB225~325
프리하든강
(NAK...)
HRc30~50
열처리강 흑연 주철
FCD400. 500~
알루미늄 스테인리스강
~HRc55 SKD61 ~HRc55 SKD11
       

허용공차

인선부 (inch) 자루부
0 ~ -.0012 h6