제품소개

엔드밀

HOME > 제품소개 > 엔드밀

ESB712 series 고경도용 ㆍ 이코노스타



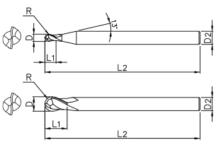
2날 볼 엔드밀
  • 2 FLUTES BALL ENDMILL

  • 인선부의 고정밀 R공차 관리를 통해 초정밀 가공에 우수함
  • 최적의 경사각 채택으로 높은 인선강도


EDP. No. D R L1 L2 D2
ESB71201010.52.5506
ESB712010S10.51.5406
ESB712010S4112.5504
ESB7120121.20.63506
ESB7120151.50.754506
ESB712015S1.50.752.5406
ESB712015S41.50.754504
ESB712020215506
ESB712020S213406
ESB712020S4215504
ESB7120252.51.257606
ESB71203031.58606
ESB712030S31.54.5506
ESB712030S431.58604
ESB712040428706
ESB712040S426506
ESB71205052.510806
ESB712050S52.57.5506
ESB7120606312906
ESB712060S639506
ESB712080S8412508
ESB71208184141008
ESB7121001051810010
ESB712100S105156010
ESB7121201262211012
ESB712120S126186012

적용 피삭재

탄소강
~ HB225
합금강
HB225~325
프리하든강
HRc30~50
열처리강 흑연 주철
FCD500~
알루미늄 스테인리스강
SKD61 ~HRc55 SKD11 ~HRc55
           

허용공차

날경(D) 자루경
~ D6 0 ~ -0.012mm h5
D8 ~ 12 0 ~ -0.015mm